
Não tentar subir ou descer um passeio com mais de 10cm de altura, nunca desça o passeio virado para a frente com uma cadeira com tracção da roda traseira ou virado para trás com uma cadeira com tracção da roda central, não se deve manobrar a cadeira na máxima velocidade, não tente descer de frente um passeio com mais de 5cm de altura, não tente subir ou descer um passeio num ângulo obliquo, aproxime-se apenas em ângulo de 90 graus, com aproximadamente 50 cm para tomar impulso, a maioria das cadeiras de rodas foram concebidas e testadas para serem utilizadas em rampas com inclinação até 8 graus (14%), colocar sempre o encosto e assento na posição vertical baixa antes de tentar subir ou descer inclinações, quando subir uma encosta, mantenha a cadeira em movimento, conduza movendo o joystick lateralmente, se parar, comece lentamente, se necessário, incline-se para a frente para compensar a tendência das rodas dianteiras, para se levantarem e se tiver alguma dúvida sobre a estabilidade da cadira numa inclinação, não tente subir nem descer rampa/passeio e tente encontrar um caminho alternativo.
PNEUS:
Nunca encha os pneus com o aparelho de pressão de uma bomba de gasolina, é aconselhável utilizar uma bomba manual ou um regulador de pressão (manómetro)e tilize sempre a pressão recomendada para os pneus, valores em PSI estão fixados nos pneus da frente da frente e de trás.
TRANSPORTE EM VEÍCULOS:
Uma cadeira de rodas fixa num veículo não apresenta o nível de segurança equivalente ao do sistema de segurança do veículo. É sempre aconselhável transferir o utilizador para o assento do veículo. Como isso nem sempre é possível e prático, os seguintes conselhos devem ser tomados:
1 - Confirme se o veículo está equipado para transportar um passageiro numa cadeira de rodas;
2 - Deve existir espaço suficiente à volta da cadeira de rodas para fixar, apertar e libertar a cadeira de rodas e os cintos de segurança e dispositivos de fixação do ocupante;
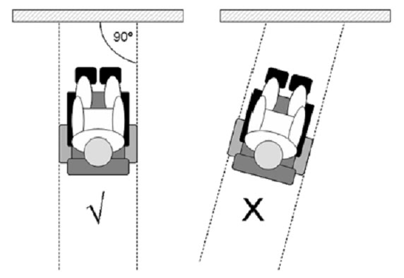
3 - A cadeira de rodas com o utilizador deve ser posicionada virada para a frente e fixa com as correias de fixação da cadeira e do ocupante (correias WTORS) que cumpram os requisitos de ISO 10542 ou SAE J2249 de acordo com as instruções do fabricante WTORS;
4 - A utilização de cadeira de rodas noutras posições dentro de um veículo ainda não foi testada, por exemplo o transporte da cadeira virada para o lado não deve ser feito em circunstância alguma. Existe o risco de ferimentos graves ou morte se esta sugestão for ignorada;
5 - A cadeira de rodas deve ser fixa por um sistema de fixação, com correias dianteiras não ajustáveis e correias traseiras ajustáveis, normalmente com ganchos em S/Karabiner e fixação de fivela. Estes dispositivos de fixação são normalmente constituídos por 4 correias individuais fixadas a cada canto da cadeira de rodas;
6 - Deve instalar as correias de fixação na estrutura principal da cadeira de rodas e indicadas para o efeito e não em quaisquer acessórios ou peças, por exemplo não à volta dos raios das rodas, dos travões ou apoios de pés;
7 - As correias de fixação devem ser presas tão próximo quanto possível, a um ângulo de 45 graus, e apertadas com firmeza;
8 - Os pontos de fixação da cadeira de rodas ou a estrutura ou componentes não deve ser alterados ou substituídos sem consultar o fabricante das cadeiras;
9 - Tanto o sinto de segurança pélvico e superior do tronco devem ser usados para segurar o ocupante para reduzir o risco de impactos na cabeça e peito com os componentes do veículo e reduzir de ferimentos graves no utilizador e outros ocupantes do veículo;
10 - Deve instalar e posicionar sempre um sistema de apoio para a cabeça durante o transporte;
12 - A segurança do utilizador durante o transporte depende das diligências da pessoa que fixou as correias de fixação e para as quais deve ter recebido instruções e ou formação adequada;
13 - O apoio de perna articulado de elevação não deve ser usado na posição elevada quando a cadeira de rodas e o utilizador forem transportados e a cadeira de rodas for fixa usando os dispositivos de fixação de transportes da cadeira de rodas e do ocupante e
14 - Os encostos reclináveis devem ser colocados na posição superior.
FIXAÇÃO DO OCUPANTE:
O cinto de segurança pélvico deve ser usado em baixo à frente da pélvis de modo a que o ângulo do cinto pélvico fique dentro da zona confortável de 30 a 75 graus na horizontal. Um ângulo mais acentuado (maior) na zona preferencial é desejável, ou sejam próximo de, mas sem ultrapassar, 75 graus e o cinto de segurança superior do tronco deve ser instalado sobre o ombro e ao longo do peito. Deve ajustar os cintos de segurança com o maior aperto possível sem os tomar incómodos. Não deve torcer o sistema de fixação do cinto de segurança quando o usar.
OUTROS:
Quando usar um rádio de comunicação, walkie-talkies, rádio amador, rádio móvel público e outros dispositivos de transmissão poderosos, a cadeira de rodas deve ser parada e desligada, a operação de telefones sem fios e móveis e de telemóveis incluindo dispositivos sem mãos é autorizada mas se ocorrerem interferências anormais, então deve parar imediatamente a cadeira e desligá-la, deve afastar-se de antenas, emissores e postes de alta tensão, tenha presente que a cadeira de rodas eléctrica pode interferir em campos electromagnéticos como os emitidos pelos alarmes das lojas, por exemplo, contacto com a água, neve ou gelo pode afectar o funcionamento da sua cadeira, nunca passe sobre uma poça ou outra acumulação de água, se a sua cadeira se molhar, ou se utilizar água para a limpar, seque-a cuidadosamente o quanto antes e atenção, a maioria das cadeiras suportam até um peso máximo de 125kg.
BATERIAS:
1 - Evite descarregar demasiadamente as baterias. Se conduzir até a cadeira ficar completamente imóvel, irá reduzir a vida útil das baterias;
2 - As baterias não devem permanecer descarregadas. Se a bateria ficar descarregada durante duas semanas perde a capacidade e trona-se impossível recupera-la posteriormente;
3 - As baterias devem ser carregadas completamente. Não interrompa o ciclo de carga;
4 - As baterias só devem ser carregadas através do carregador fornecido com a cadeira de rodas. As baterias precisam de um periodo de rodagem de seis a doze cargas, não se obtendo a autonomia máxima até ao final desse periodo. É preferivel limitar a utilização da cadeira e a distância das viagens até que as baterias tenham terminado o periodo de rodagem;
5 - É aconselhável carregar as baterias todos os dias, assim que terminar de usar a sua cadeira e
6 - Nunca coloque o carregador directamente em cima da bateria que está a carregar.
Sem comentários:
Enviar um comentário